Shop | MindenBringa
  • Akciós termék
  • Extra akció
  • Alkatrész
  • Ruházat
  • Karbantartás
  • Kiegészítő
  • Szállítás
  • Kerékpár
  • Mikulás
  • Cofidis
Menabo Stand Up kerékpárszállító hátsó ajtóra
Sínes hátsó ajtóra szerelhető kerékpárszállító.
A kerékpárok szállításának egyik legbiztonságosabb módja!
A legkönnyebb hátsó ajtóra szerelhető kerékpárszállítónk!
2 kerékpár szállítására alkalmas.
30-50 mm átmérőjű, akár 70 mm profilmagasságú felsőcsővel rendelkező kerékpárokhoz, max. 114 cm tengelytávolsággal.
22”-29” kerékmérethez, max. 75 mm széles gumiköpenyekhez.
2 vázfogó karom és állítható keréktámaszok a kerékpárok precíz rögzítéséhez.
A sínek felhajthatóak, így kisebb helyet foglal, amikor nincs használatban.
Rögzítése pántokkal történik.
Acél, alumínium sínekkel, max. 30 kg-ig terhelhető.
A TÜV-GS Intézet által bevizsgálva.

Vázrögzítők a csomagban:
1db - Menabo hosszú szárú vázfogó karom
1db - Menabo rövid szárú vázfogó karom


84.990 Ft 72.240 Ft 72240.0 HUF
Menabo Steel Bike 2 kerékpárszállító hátsó ajtóra
Sínes hátsó ajtóra szerelhető kerékpár szállítókedvező áron.
A kerékpárok szállításának egyik legbiztonságosabb módja!
2 kerékpár szállítására alkalmas.
30-50 mm átmérőjű, akár 70 mm profilmagasságú felsőcsővel rendelkező kerékpárokhoz,
22”-29” kerékmérethez.
A sínek belső szélessége 45 mm.
2 vázfogó pofa a kerékpárok precíz rögzítéséhez
Szinte minden autótípusra felszerelhető.
A kerékpárok kényelmesebben felrakodhatóak,
mint a tetőre szerelhető szállítók esetén.
Rögzítése gumi borítású acél hevederekkel történik,
amelyek védik az autó fényezését.
Acél, max. 30 kg-ig terhelhető.
A TÜV-GS Intézet által bevizsgálva
66.990 Ft 56.940 Ft 56940.0 HUF
Menabo Steel Bike 3 kerékpárszállító hátsó ajtóra
Sínes, hátsó ajtóra szerelhető kerékpárszállító kedvező áron.
A kerékpárok szállításának egyik legbiztonságosabb módja!
vázfogó pofák a kerékpárok precíz rögzítéséhez.
3 kerékpár szállítására alkalmas.
30-50 mm átmérőjű, akár 70 mm profilmagasságú felsőcsővel rendelkező kerékpárokhoz,
22”-29” kerékmérethez.
A sínek belső szélessége 45 mm.
Szinte minden autótípusra felszerelhető.
A kerékpárok kényelmesebben felrakhatóak,
mint a tetőre szerelhető szállítók esetén.
Rögzítése gumi borítású acél hevederekkel történik,
amelyek védik az autó fényezését.
Acél, max. 45kg-ig terhelhető.
A TÜV-GS Intézet által bevizsgálva

Vázrögzítők a csomagban:
1db - Menabo rövid felsőcsőösszekötő karom
1db - Menabo hosszú szárú vázfogó karom
1db - Menabo rövid szárú vázfogó karom
76.990 Ft 65.440 Ft 65440.0 HUF
Menabo Top Bike kerékpárszállító tetőcsomagtartóra
A legkedvezőbb árú tetőre szerelhető kerékpár szállítónk.
Praktikus és funkcionális.
1 kerékpár szállításához
Normál vázprofilú, 28-40 mm átmérőjű,
megközelítően kör keresztmetszetű vázzal rendelkező kerékpárokhoz
22”-29” kerékmérethez
Rögzítéséhez 10 mm-es villáskulcs szükséges.
Opcionálisan a 39453-as cikkszámú zárható tekerővel a kerékpárunkat lezárhatjuk benne.
Acél, max. 15 kg-ig terhelhető.
A TÜV-GS Intézet által bevizsgálva


13.990 Ft 11.890 Ft 11890.0 HUF
Menabo vázfogó karom gumibetét
4 darabos készlet.
Gyári cikkszám: 700012900000
1.690 Ft 1.440 Ft 1440.0 HUF
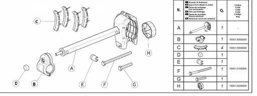
Menabo vázfogó karom rögzítőgomb
Az ábrán a H jelű alkatrész.

Gyári cikkszám: 700013200000
1.190 Ft 1.010 Ft 1010.0 HUF
Menabo vázfogó Marius, Mistral bölcső
kiegészítő alkatrész Menabo Mistralhoz.
4.490 Ft 3.820 Ft 3820.0 HUF
Menabo Winny/Winny plus Keretrögzítő adapter
Pótalaktrész Menabo Winny és Winny Plus szállítókhoz
A szerelési ábra 12. eleme.
Gyári kódja: 700007000000
Ez az adapter rögzíti a vázszerkezetre a függőleges rögzítőkeretet.
3.990 Ft 3.390 Ft 3390.0 HUF
Menabo zárható rövid felsőcső összekötő vázfogó karom
A kerékpárszállítón lévő párhuzamosan álló kerékpárok felsőcsövét köti össze, megakadályozva ezzel a kerékpárok oldalra történő mozgását, egymásnak ütődését.

Benyúlás: kb. 16 cm
Használható az alábbi vázcső méretekhez:
- kör keresztmetszetű vázak esetén:
-- minimum 25 mm
-- maximum 70 mm

- ovális keresztmetszetű vázcső esetén:
-- minimum 30 x 25 mm
-- maximum 60 x 80 mm
12.990 Ft 11.040 Ft 11040.0 HUF
Menabo zárható tekerő kulccsal V2
Nem zárható Menabo tetőre szerelhető kerékpár tartóhoz, vagy nem zárható Menabo vázfogó karomhoz; zárhatóvá és biztonságossá teszi a szállítást.

(csavarmenet méret: M8)
3.990 Ft 3.390 Ft 3390.0 HUF
ADRIATICA TREND alu 28" 6s

Az optimizmus üzeneteAzúrkék tenger, feszülő vitorla, magasan szárnyaló...Az optimizmus üzeneteAzúrkék tenger, feszülő vitorla, magasan szárnyaló sirályok: a cég logója ebben a képben összegzi azt az életérzést, amelyet minden Adriatica kerékpár képvisel. A céget Umberto Cardinali alapította 1946-ban, Pesaro történelmi központjában. A második világháború utáni Itáliában a kerékpár hamar a remény, a szabadság szimbólumává vált. 1970-ben Cardinali eladta a céget Luigi Domenicuccinak, aki már akkor elismert szakembernek számított a kerékpárépítés területén. A Domenicucci család vezetésével azóta az Adriatica nemzetközi hírű márkává fejlődött, sikeresen ötvözve az olasz kerékpárgyártás hagyományait a legmodernebb technikai vívmányokkal. Ma az Adriatica kerékpárokat az eredetiség, kimagasló minőség, megbízhatóság jellemzi. A városi és trekking kerékpárok széles választékában egyesül a hamisítatlan itáliai ízlés a modern dizájnelemekkel, így kínálva stílusos megoldást a kerékpározás szerelmeseinek. Váz: TRK Alu • Villa: Hi-Ten Oval-TIG • Hátsó váltó: Shimano TY21 • Váltókar: Shimano RS 36 • Fogaskerékcsoport: Shimano 6s • Hajtómű: TRK acél 42T • Fékek: V-fék alu Kerekek: 700C TRK alu • Gumik: TRK 700×35C • Kormány: TRK alu • Kormányszár: TRK alu • Nyereg: Bassano Virtual • Pedál: TRK resin • Méretek: 45 cm • Tömeg: 16.50 kg • Opció: Kosár (Nem tartozék!).A gyártási és szállítási idő csökkentése érdekében néhány esetben a kerékpár gyártója kénytelen módosítani a kerékpárok specifikációit.

159.990 Ft 135.990 Ft 135990.0 HUF
Trelock FS 380 TRIGO® kulcsos colstok zár [fekete, X-Press Air Tag, 85 cm]
Kemény belül, puha kívül
Az FS 380 TRIGO® IN-X® cilinder technológiának köszönhetően a kulcs mindkét oldalról behelyezhető. Az újratervezett cilinder védő kupak nemcsak a zárat védi, de a lezárást és a kinyitást is kényelmesebbé teszi. Az FS 380 TRIGO® a Trelock új, egyszerű dizájnját képviseli. Tisztán feketében, a colstok zárak még elegánsabbak, mint korábban. A gumírozott borítású edzett acél lapok nemcsak lopás ellen védenek, de a váz festését sem fogják károsítani.

Az alábbi rögzítőkkel érhető el:
- ZF234: egyszerű gumiszíjas rögzítés a tartókeretbe
- X-Press AirTag: Stabil gombos kioldású rögzítőrendszer rejtett AirTag tartóval

Tömeg: 770 g (85 cm)
Tömeg: 860 g (100 cm)
35.990 Ft 30.590 Ft 30590.0 HUF
Trelock FS 480/100 COPS® + ZF 480 X-PRESS kulcsos colstok zár [X-Press Air Tag, 100 cm]
Az FS 480 COPS® az újabb népszerű megjelenésű TRELOCK COPS összecsukható zársorozat új kompakt kiegészítője. Az edzett acélból készült gumírozott láncszemek 100 cm hosszúságig kihajthatók. A kerékpár rögzítése egy álló tárgyhoz még egyszerűbb. A kényelmes zárás érdekében az FS 480 COPS® 360 fokban elforgatható behelyezési területtel van felszerelve a zárfejen és egy megfordítható kulccsal. Az IN-X® hengert burkolat védi a portól és a szennyeződéstől. A 100 cm-es változathoz az új X-PRESS konzol is tartozik. Az X-PRESS tartó új reteszelő mechanizmusa még könnyebbé teszi a zár fel- és levételét. A zár eltávolításához nyomja meg a piros gombot és a zár kiold, majd ismételt rögzítéséhez egyszerűen nyomja össze a konzolokat.
Már elérhető AirTag kompatibilis tartóval is!

Súly: 1200 g
A konzol kulacstartóra is szerelhető
A konzol hevederekkel rögzíthető a vázra
Kompakt szállíthatóság
IN-X henger fordítható kulccsal
X-PRESS vagy X-PRESS AIRTAG kompatibilis konzol mellékelve
Rozsdásodás elleni védelem
Porvédelem
Varefakta minősítésű
Edzett acél
41.990 Ft 35.690 Ft 35690.0 HUF
Trelock PK 222 Fixxgo kulcsos görgős zár [75 cm]
A FIXXGO® egy szabadalmaztatott megoldás a könnyű kezelhetőség jegyében, és nem más, mint egy beépített tartókonzol. A Trelock spirál zárjai elérhetőek beépített konzollal is, így nem szükséges konzolt rögzíteni a kerékpárra. Ennek az ügyes pántos megoldásnak köszönhetően a kedvenc zárunk többféle formájú vázcsőre is rögzíthető és rázkódásmentes szállítást tesz lehetővé.
11.990 Ft 10.190 Ft 10190.0 HUF
Trelock ZR 455/100 kiegészítő lánc
A 8 mm vastag edzett acél láncszemek további biztonságot nyújtanak. A TRELOCK kiegészítő láncok ideális kiegészítői a PROTECT-O-CONNECT patkózárnak.

Hossz: 100 cm
Láncszemek Ø: 8 mm
A kiváló minőségű textilbevonat védi a vázat a sérülésektől.
18.990 Ft 16.140 Ft 16140.0 HUF
SKS-Germany Velo 42 Urban 28" sárvédő szett [fekete]
Velo 42 Urban sárvédőszett
A Velo egy olyan speciális sárvédő, amely pálcával vagy pálca nélkül is használható. Az eddig ismert műanyag sárvédőkkel szemben – kialakításának köszönhetően – pálca nélkül is stabil, mégis megőrzi a pálca nélküli sárvédők nagy előnyét, a mobilitást. Így a száraz évszakokban egy mozdulattal le- és felszerelhető, a nedves évszak beköszöntével pedig a pálcával kiegészítve egy maximálisan stabil rendszert élvezhetünk.

Sportosabb dizájn pálcák nélkül használva, a sárvédő így könnyedén fel- és lecsúsztatható.
Opcionálisan 3,4 mm-es rozsdamentes acél pálcákkal is használhatóak. A pálcák szerszám nélkül felcsatolhatóak.

Akárhol is vagy, erdőben, városban egyaránt, az SKS Velo 42 Urban ideális társ, aki megvéd a víztől, sártól. A 28-as levehető sárvédő készlet 28-35 mm-es vázcsövekre szerelhető.

Méret: 28"
Max. köpeny szélesség: 1.1"-1.5"
Tömeg: 170 gramm


SKS pálcás sárvédő felszerelési útmutató.

a pálcákat külön kell megrendelni, nem gyári tartozék


@@

Velo 42 Urban sárvédőszett
A Velo egy olyan speciális sárvédő, amely pálcával vagy pálca nélkül is használható. Az eddig ismert műanyag sárvédőkkel szemben – kialakításának köszönhetően – pálca nélkül is stabil, mégis megőrzi a pálca nélküli sárvédők nagy előnyét, a mobilitást. Így a száraz évszakokban egy mozdulattal le- és felszerelhető, a nedves évszak beköszöntével pedig a pálcával kiegészítve egy maximálisan stabil rendszert élvezhetünk.

Sportosabb dizájn pálcák nélkül használva, a sárvédő így könnyedén fel- és lecsúsztatható.
Opcionálisan 3,4 mm-es rozsdamentes acél pálcákkal is használhatóak. A pálcák szerszám nélkül felcsatolhatóak.

Akárhol is vagy, erdőben, városban egyaránt, az SKS Velo 42 Urban ideális társ, aki megvéd a víztől, sártól. A 28-as levehető sárvédő készlet 28-35 mm-es vázcsövekre szerelhető.

Méret: 28"
Max. köpeny szélesség: 1.1"-1.5"
Tömeg: 170 gramm


SKS pálcás sárvédő felszerelési útmutató.
**a pálcákat külön kell megrendelni, nem gyári tartozék**

9.990 Ft 8.490 Ft 8490.0 HUF
SKS-Germany Dashblade sárvédő hátra [fekete]
SKS Dashblade hátsó sárvédő

Az egyszerű és gyors működésű rögzítés (Powerstrap) minden nyeregcsövön és a legtöbb vázon biztosan tart. A Dashblade a tökéletes takaráshoz szögben állítható. A menő, "lopakodó" dizájn a Dashblade-et és a Dashboardot összeillő párrá teszi.

Méret: 26"
Hossz: 540 mm.
Súly: 178 gramm
7.990 Ft 6.790 Ft 6790.0 HUF
SKS-Germany Edge AL sárvédő szett [46 mm, fekete]
Az Edge Al optimális védelmet biztosít a sár ellen a városi és trekking kerékpárosok számára. Az alumínium sárvédő hosszan lenyúlik, és annak ellenére, hogy csak három ponton kell rögzíteni, hihetetlenül stabil. Nem szükséges a csomagtartóhoz rögzíteni. Egyszerű, matt fekete megjelenése és szögletes proflja az Edge Al-t szinte láthatatlanná teszi, mintha a váz része lenne.

Anyaga: Alumínium
Tömeg: 543g
Kerékméret: 28"
Köpenyszélesség: 42/50mm
Elsó sárvédő hossza: 740mm
Hátsó sárvédő hossza: 1200m
21.990 Ft 18.690 Ft 18690.0 HUF
SKS-Germany Edge AL sárvédő szett [56 mm, fekete]
Az Edge Al optimális védelmet biztosít a sár ellen a városi és trekking kerékpárosok számára. Az alumínium sárvédő hosszan lenyúlik, és annak ellenére, hogy csak három ponton kell rögzíteni, hihetetlenül stabil. Nem szükséges a csomagtartóhoz rögzíteni. Egyszerű, matt fekete megjelenése és szögletes proflja az Edge Al-t szinte láthatatlanná teszi, mintha a váz része lenne.

Anyaga: Alumínium
Tömeg: 543g
Kerékméret: 28"
Köpenyszélesség: 42/50mm
Elsó sárvédő hossza: 740mm
Hátsó sárvédő hossza: 1200m
21.990 Ft 18.690 Ft 18690.0 HUF
SKS-Germany Mudrocker hátsó sárvédőrögzítő váz adapter
pótalkatrész SKS-Germany Mudrocker hátsó sárvédőhöz
(a támvillára kell rögzíteni őket)
2.490 Ft 2.120 Ft 2120.0 HUF
SKS-Germany sárvédőrögzítő elem Beavertail, Velo 55 Cross, Velo Mountain, Veloflexx 65 sárvédőkhöz
Rögzítő elem Beavertail, Velo 55 Cross, Velo 65 Mountain, Veloflexx 65 sárvédőkhöz, alulról fúrt támvilla összekötővel rendelkező vázakhoz.
1.990 Ft 1.690 Ft 1690.0 HUF
SKS-Germany Trekking 28" sárvédő szett
SKS Trekking sárvédőszett cross kerékpárokhoz

- Szélesség: 45 mm
- Vázcsőátmérő: 28-35 mm
- Szín: fekete
- Súly: 185 gramm
5.990 Ft 5.090 Ft 5090.0 HUF
SKS-Germany vázvédő sárvédőrögzítő alá
80 X 29 mm-es vázvédő matrica a sárvédő rögzítése alá SKS Raceblade modellekhez.

Amennyiben érzékeny felületű vázad vagy villád van, érdemes a sárvédő rögzítője és a kerékpár felülete közé védőmatricát ragasztani. A Raceblade sárvédők rögzítése sérülést okozhat!

4db matrica/csomag
990 Ft 840 Ft 840.0 HUF
SKS-Germany Velo 65 Mountain 29" sárvédő szett pálcával [fekete]
A Velo sárvédők "nagytesója" ideális a 29"-es mountain bike-ok számára. Univerzális rögzítése nagyon praktikussá teszi, biztonságosan felszerelhető minden általánosan kapható vázra. A pálcaszett (tartozék) még nagyobb stabilitást biztosít. Maximum köpenyszélesség: 2.35"

Anyaga: Műanyag
Tömeg: 290g
Legnagyobb külső szélessége: 35mm
Első sárvédő hossza: 700 mm
Hátsó sárvédő hossza: 930 mm

**Az SKS-Germany bilincses sárvédőrögzítő nem tartozék, külön rendelendő!**
11.990 Ft 10.190 Ft 10190.0 HUF
SKS-Germany Veloflexx 55 sárvédő szett [fekete]
A Velo sárvédő család új tagjai!
A Veloflexx sárvédőszett a pálcás fix sárvédők stabilitásának és a gyorsrögzítésű sárvédők mobilitásának tökéletes kombinációja. A Veloflexx rögzítő hídja lehetővé teszi a sárvédő támvillákhoz történő rögzítését szerszám nélkül, gumi pántok segítségével. Ez a rögzítési mód nem igényel többé összekötő elemet a támvillák között. A Veloflexx sárvédő elől gumírozott rögzítőpánt vagy kábelkötegelő segítségével rögzíthető a fékhídhoz. Az adapterek lehetővé teszik, hogy bármilyen villához rögzíthessük, továbbá az adapterek szöge állítható.
A fekete pálcák még több stabilitást nyújtanak. Elől tépőzáras pántokkal, hátul gumi pántokkal rögzíthetőek, szerszámmentesen. A leszerelés ugyanilyen gyors és problémamentes.
A Veloflexx három különböző szélességben érhető el, fitness, mountain bike (Cross Country és All Mountain), valamint city kerékpárokhoz. A rögzítők a csomag részét képezik.

Tények:
- Rugalmas, ugyanakkor masszív
- Szerszámmentes fel- és leszerelés
- Vázadapter állítható szöggel
- Ideális megoldás tárcsafékes kerékpárokhoz.

Merevvillákra is felszerelhető a 7409-es kódú SKS-Germany konzollal

15.990 Ft 13.590 Ft 13590.0 HUF
SKS-Germany Veloflexx 65 26"-27.5" sárvédő szett [fekete]
A Velo sárvédő család új tagjai!
A Veloflexx sárvédőszett a pálcás fix sárvédők stabilitásának és a gyorsrögzítésű sárvédők mobilitásának tökéletes kombinációja. A Veloflexx rögzítő hídja lehetővé teszi a sárvédő támvillákhoz történő rögzítését szerszám nélkül, gumi pántok segítségével. Ez a rögzítési mód nem igényel többé összekötő elemet a támvillák között. A Veloflexx sárvédő elől gumírozott rögzítőpánt vagy kábelkötegelő segítségével rögzíthető a fékhídhoz. Az adapterek lehetővé teszik, hogy bármilyen villához rögzíthessük, továbbá az adapterek szöge állítható.
A fekete pálcák még több stabilitást nyújtanak. Elől tépőzáras pántokkal, hátul gumi pántokkal rögzíthetőek, szerszámmentesen. A leszerelés ugyanilyen gyors és problémamentes.
A Veloflexx három különböző szélességben érhető el, fitness, mountain bike (Cross Country és All Mountain), valamint city kerékpárokhoz. A rögzítők a csomag részét képezik.

Tények:
- Rugalmas, ugyanakkor masszív
- Szerszámmentes fel- és leszerelés
- Vázadapter állítható szöggel
- Ideális megoldás tárcsafékes kerékpárokhoz.

Merevvillákra is felszerelhető a 7409-es kódú SKS-Germany konzollal

15.990 Ft 13.590 Ft 13590.0 HUF
SKS-Germany Veloflexx 65 29" sárvédő szett [fekete]
A Velo sárvédő család új tagjai!
A Veloflexx sárvédőszett a pálcás fix sárvédők stabilitásának és a gyorsrögzítésű sárvédők mobilitásának tökéletes kombinációja. A Veloflexx rögzítő hídja lehetővé teszi a sárvédő támvillákhoz történő rögzítését szerszám nélkül, gumi pántok segítségével. Ez a rögzítési mód nem igényel többé összekötő elemet a támvillák között. A Veloflexx sárvédő elől gumírozott rögzítőpánt vagy kábelkötegelő segítségével rögzíthető a fékhídhoz. Az adapterek lehetővé teszik, hogy bármilyen villához rögzíthessük, továbbá az adapterek szöge állítható.
A fekete pálcák még több stabilitást nyújtanak. Elől tépőzáras pántokkal, hátul gumi pántokkal rögzíthetőek, szerszámmentesen. A leszerelés ugyanilyen gyors és problémamentes.
A Veloflexx három különböző szélességben érhető el, fitness, mountain bike (Cross Country és All Mountain), valamint city kerékpárokhoz. A rögzítők a csomag részét képezik.

Tények:
- Rugalmas, ugyanakkor masszív
- Szerszámmentes fel- és leszerelés
- Vázadapter állítható szöggel
- Ideális megoldás tárcsafékes kerékpárokhoz.

Merevvillákra is felszerelhető a 7409-es kódú SKS-Germany konzollal
15.990 Ft 13.590 Ft 13590.0 HUF
SKS-Germany X-Board Dark sárvédő alsócsőre [fekete]
X-Board dark sárvédő alsócsőre
Innovatív sárvédő gumis rögzítéssel az alsócsőre. Tökéletesen illik az X-Blade-hez:
- állítható, puha rögzítője ideálisan alkalmazkodik majdnem minden vázprofilhoz
- két komponensű, puha spoiler
- erős gumi rögzítő
- minden vázhoz illik
- 24-28” kerékpárokhoz

Tömeg: 99 g
2.6-4.8” gumiszélességig
Hossz: 345 mm
5.990 Ft 5.090 Ft 5090.0 HUF
Granite Aux Strap kulacstartó [matt fekete]
Granite Aux karbon kulacstartó univerzális pántos rögzítéssel.

Masszív karbon konstrukció termoplaszt erősítéssel. Könnyebb tömeg, erősebb kivitel.
Oldalról elérhető kulacs, így akár kisebb, kompakt vázakhoz is tökéletes választás.

Rögzítése 27.2-70mm vázcsövekre lehetséges.
Tömeg: 23g (+ rögzítő pánt)

Csomag tartalma:
- Aux kulacstartó
- 2db szilikon belső borítású rögzítőpánt
- szilikon kulacstartó adapter
9.290 Ft 7.900 Ft 7900.0 HUF
Granite Pita pedál / vázvédő [fekete, L]
Granite Pita pedál védő huzat

Kerékpár tárolás vagy szállítás alkalmával megvédi a pedáltól a többi kerékpárt / szállítóeszközt / téged...


3mm vastag neoprén anyag eltakarja a platform pedál tüskéit, éleit.

Méretek:
L: 115 x 115 mm-es pedálméretig
S: 100 x 85 mm-es pedálméretig
6.990 Ft 5.940 Ft 5940.0 HUF
Granite Pita pedál / vázvédő [fekete, S]
Granite Pita pedál védő huzat

Kerékpár tárolás vagy szállítás alkalmával megvédi a pedáltól a többi kerékpárt / szállítóeszközt / téged...


3mm vastag neoprén anyag eltakarja a platform pedál tüskéit, éleit.

Méretek:
L: 115 x 115 mm-es pedálméretig
S: 100 x 85 mm-es pedálméretig
6.990 Ft 5.940 Ft 5940.0 HUF
Granite Pita pedál / vázvédő [terepmintás, L]
Granite Pita pedál védő huzat

Kerékpár tárolás vagy szállítás alkalmával megvédi a pedáltól a többi kerékpárt / szállítóeszközt / téged...


3mm vastag neoprén anyag eltakarja a platform pedál tüskéit, éleit.

Méretek:
L: 115 x 115 mm-es pedálméretig
S: 100 x 85 mm-es pedálméretig
6.990 Ft 5.940 Ft 5940.0 HUF
Granite Pita pedál / vázvédő [terepmintás, S]
Granite Pita pedál védő huzat

Kerékpár tárolás vagy szállítás alkalmával megvédi a pedáltól a többi kerékpárt / szállítóeszközt / téged...


3mm vastag neoprén anyag eltakarja a platform pedál tüskéit, éleit.

Méretek:
L: 115 x 115 mm-es pedálméretig
S: 100 x 85 mm-es pedálméretig
6.990 Ft 5.940 Ft 5940.0 HUF
Granite ROCKBAND rögzítő pánt [barna]
A Granite ROCKBAND egy szuperkönnyű szállító rögzítő pánt, amivel kb bármit a vázhoz rögzíthetünk.
Minimalista rögzítő eszköz.
Egy belső rögzítő pánt és egy csúszásgátló betét segít a megfelelő rögzítésben, és a rázkódáselnyelésben.
Használhatósága igen sokrétű és szerteágazó. Fedezd fel a benne rejlő lehetőségeket.
Súlya mindösszesen 33g!
2.990 Ft 2.540 Ft 2540.0 HUF
Granite ROCKBAND rögzítő pánt [fekete]
A Granite ROCKBAND egy szuperkönnyű szállító rögzítő pánt, amivel kb bármit a vázhoz rögzíthetünk.
Minimalista rögzítő eszköz.
Egy belső rögzítő pánt és egy csúszásgátló betét segít a megfelelő rögzítésben, és a rázkódáselnyelésben.
Használhatósága igen sokrétű és szerteágazó. Fedezd fel a benne rejlő lehetőségeket.
Súlya mindösszesen 33g!
2.990 Ft 2.540 Ft 2540.0 HUF
Granite ROCKBAND rögzítő pánt [kék]
A Granite ROCKBAND egy szuperkönnyű szállító rögzítő pánt, amivel kb bármit a vázhoz rögzíthetünk.
Minimalista rögzítő eszköz.
Egy belső rögzítő pánt és egy csúszásgátló betét segít a megfelelő rögzítésben, és a rázkódáselnyelésben.
Használhatósága igen sokrétű és szerteágazó. Fedezd fel a benne rejlő lehetőségeket.
Súlya mindösszesen 33g!
2.990 Ft 2.540 Ft 2540.0 HUF
Granite ROCKBAND rögzítő pánt [lila]
A Granite ROCKBAND egy szuperkönnyű szállító rögzítő pánt, amivel kb bármit a vázhoz rögzíthetünk.
Minimalista rögzítő eszköz.
Egy belső rögzítő pánt és egy csúszásgátló betét segít a megfelelő rögzítésben, és a rázkódáselnyelésben.
Használhatósága igen sokrétű és szerteágazó. Fedezd fel a benne rejlő lehetőségeket.
Súlya mindösszesen 33g!
2.990 Ft 2.540 Ft 2540.0 HUF
Granite ROCKBAND rögzítő pánt [narancs]
A Granite ROCKBAND egy szuperkönnyű szállító rögzítő pánt, amivel kb bármit a vázhoz rögzíthetünk.
Minimalista rögzítő eszköz.
Egy belső rögzítő pánt és egy csúszásgátló betét segít a megfelelő rögzítésben, és a rázkódáselnyelésben.
Használhatósága igen sokrétű és szerteágazó. Fedezd fel a benne rejlő lehetőségeket.
Súlya mindösszesen 33g!
2.990 Ft 2.540 Ft 2540.0 HUF
Granite ROCKBAND rögzítő pánt [pink]
A Granite ROCKBAND egy szuperkönnyű szállító rögzítő pánt, amivel kb bármit a vázhoz rögzíthetünk.
Minimalista rögzítő eszköz.
Egy belső rögzítő pánt és egy csúszásgátló betét segít a megfelelő rögzítésben, és a rázkódáselnyelésben.
Használhatósága igen sokrétű és szerteágazó. Fedezd fel a benne rejlő lehetőségeket.
Súlya mindösszesen 33g!
2.990 Ft 2.540 Ft 2540.0 HUF
Granite ROCKBAND rögzítő pánt [piros]
A Granite ROCKBAND egy szuperkönnyű szállító rögzítő pánt, amivel kb bármit a vázhoz rögzíthetünk.
Minimalista rögzítő eszköz.
Egy belső rögzítő pánt és egy csúszásgátló betét segít a megfelelő rögzítésben, és a rázkódáselnyelésben.
Használhatósága igen sokrétű és szerteágazó. Fedezd fel a benne rejlő lehetőségeket.
Súlya mindösszesen 33g!
2.990 Ft 2.540 Ft 2540.0 HUF
Granite ROCKBAND rögzítő pánt [sárga]
A Granite ROCKBAND egy szuperkönnyű szállító rögzítő pánt, amivel kb bármit a vázhoz rögzíthetünk.
Minimalista rögzítő eszköz.
Egy belső rögzítő pánt és egy csúszásgátló betét segít a megfelelő rögzítésben, és a rázkódáselnyelésben.
Használhatósága igen sokrétű és szerteágazó. Fedezd fel a benne rejlő lehetőségeket.
Súlya mindösszesen 33g!
2.990 Ft 2.540 Ft 2540.0 HUF
Granite ROCKBAND rögzítő pánt [terepmintás]
A Granite ROCKBAND egy szuperkönnyű szállító rögzítő pánt, amivel kb bármit a vázhoz rögzíthetünk.
Minimalista rögzítő eszköz.
Egy belső rögzítő pánt és egy csúszásgátló betét segít a megfelelő rögzítésben, és a rázkódáselnyelésben.
Használhatósága igen sokrétű és szerteágazó. Fedezd fel a benne rejlő lehetőségeket.
Súlya mindösszesen 33g!
2.990 Ft 2.540 Ft 2540.0 HUF
Granite ROCKBAND rögzítő pánt [türkiz]
A Granite ROCKBAND egy szuperkönnyű szállító rögzítő pánt, amivel kb bármit a vázhoz rögzíthetünk.
Minimalista rögzítő eszköz.
Egy belső rögzítő pánt és egy csúszásgátló betét segít a megfelelő rögzítésben, és a rázkódáselnyelésben.
Használhatósága igen sokrétű és szerteágazó. Fedezd fel a benne rejlő lehetőségeket.
Súlya mindösszesen 33g!
2.990 Ft 2.540 Ft 2540.0 HUF
Granite ROCKBAND rögzítő pánt [zöld]
A Granite ROCKBAND egy szuperkönnyű szállító rögzítő pánt, amivel kb bármit a vázhoz rögzíthetünk.
Minimalista rögzítő eszköz.
Egy belső rögzítő pánt és egy csúszásgátló betét segít a megfelelő rögzítésben, és a rázkódáselnyelésben.
Használhatósága igen sokrétű és szerteágazó. Fedezd fel a benne rejlő lehetőségeket.
Súlya mindösszesen 33g!
2.990 Ft 2.540 Ft 2540.0 HUF
FUNN Descend integrált kormánycsapágy
Funn Descend integrált kormánycsapágy tapered vázhoz és villához
Garantálja a szuper finom irányíthatóságot, így neked csak a terepre kell fókuszálnod.

Tömeg: 62+36g
12.990 Ft 11.040 Ft 11040.0 HUF
FUNN Zippa Bash Guard rockguard [34-36]
A legbrutálisabb ösvényekre tervezett!

A Funn Zippa Bash tökéletesen illeszkedik a Zippa Lite láncvezetőkhöz, emellett kiváló védelmet nyújt a szikláktól és gyökerektől, megkímélve téged és vázad a sérülésektől.

CNC-zett AL7075 hőkezelt hátlappal és cserélhető hőre lágyuló polimer ütközővel rendelkezik, mely sziklaszilárd és pehelykönnyű.

Egytányéros hajtóműhöz tervezett, 26T-32T és 34T-36T lánckerekekkel működik és ISCG05 szabványú rögzítésű.

Súlya: 65/68 g
14.990 Ft 12.740 Ft 12740.0 HUF
SKS-Germany Airboy rögzítő elem 592130 pumpatartó
Tartókonzol 23-35 mm átmérőjű vázhoz.
990 Ft 840 Ft 840.0 HUF
SKS-Germany Anywhere kulacstartó adapter
Segítségével tényleg bárhová rögzítheted a kulacsod, nincs szükség rögzítő szemekre a vázon, mert tépőzáras pánttal bárhová felszerelhető.

Külső átmérő, amit maximálisan be tud fogni: 50-80 mm

Gyári cikkszám: 11313
4.490 Ft 3.820 Ft 3820.0 HUF
SKS-Germany Anywhere Topcage kulacstartó adapter
Segítségével tényleg bárhová rögzítheted a kulacsod, nincs szükség rögzítő szemekre a vázon, mert tépőzáras pánttal bárhová felszerelhető.

330 mm / 20 mm

Gyári cikkszám: 11232


2.190 Ft 1.860 Ft 1860.0 HUF
SKS-Germany Anywhere Velocage kulacstartó szett [matt fekete]
Két népszerű kiegészítő kombinált csomagja:

SKS Anywhere:
Segítségével tényleg bárhová rögzítheted a kulacsod, nincs szükség rögzítő szemekre a vázon, mert tépőzáras pánt tartja. Külső átmérő, amit maximálisan be tud fogni: 50-80 mm

SKS Velocage:
A könnyű Velocage tömege mindössze 40 gramm, és nagyszerű sportos megjelenéssel bír. A kulacstartó könnyű, ugyanakkor abszolút biztonságos, akár országúton, akár kemény terepen kerékpározol. Stabil szerkezete szilárdan tartja a kulacsot minden oldalról. Az általában kapható kulacsok könnyen belehelyezhetőek, és ugyanilyen könnyen kivehetőek.
8.990 Ft 7.640 Ft 7640.0 HUF
SKS-Germany Cage Shifter+ kulacstartó adapter
Könnyű polikarbonátból készült kulacstartó adapter

A vázban lévő kulacstartó furatok 1,5-4,5 cm-rel "mozgathatóak" az univerzális CAGE SHIFTER+ segítségével.
Lapos kialakításának köszönhetően a könnyű polikarbonátból készült praktikus adapter diszkréten integrálódik a vázba.
Felszerelés után a kerékpáros kulacstartó két csavarral egyszerűen rögzíthető a CAGE SHIFTER+-hoz.


Univerzális rögzítési rendszer szinte bárhol a kerékpáron

A puha műanyagból készült oldalsó konzolok további rögzítési lehetőségeket is biztosítanak szinte bárhol a kerékpáron.
A festékbarát tépőzáras pántokkal (mellékelve) nemcsak kulacstartókat, hanem csere belsőket, szerszámokat vagy pumpákat is fel lehet rögzíteni a kerékpár szinte bármely pontjára.


• Adapter a kulacstartó lyukak "mozgatásához"
• Rugalmas rögzítési rendszer az oldalsó konzoloknak köszönhetően
• Gumírozott tépőzáras pántok
• Könnyű polikarbonátból készült
• Németországban készült
8.990 Ft 7.640 Ft 7640.0 HUF
SKS-Germany Dual SC kulacstartó
Kulacstartó, amely lehetővé teszi a kulacs oldalról történő be- és kivételét

A modern kerékpár geometriák gyakran kevés helyet kínálnak a kulacstartó számára.
A DUAL DC kulacstartó az oldalsó hozzáférésnek köszönhetően kisebb vázakhoz is kompatibilis lehet.
A kulacs jobb oldalról könnyen behelyezhető és kivehető.

Tökéletes kisebb kerékpárvázakhoz

A matt fekete kulacstartó letisztult megjelenése igazán szemet gyönyörködtető, és nem csak ez: A DUAL SC az újrahasznosított szénszálakat ütésálló poliamiddal kombinálja.
A POLYCARBON névre keresztelt anyag kiemelkedő előnyökkel rendelkezik: a kulacstartó 40%-os széntartalma különösen könnyűvé teszi, ugyanakkor kiváló stabilitást biztosít.

• A palack oldalról eltávolítható
• Alkalmas kisebb vázakhoz is
• Újrahasznosított szénszálakból készült
• Könnyű és erős
• Minden általános kerékpáros kulacshoz
• Németországban készült
8.490 Ft 7.220 Ft 7220.0 HUF
SKS-Germany Dual SC LH kulacstartó
Kulacstartó, amely lehetővé teszi a kulacs oldalról történő eltávolítását

A modern kerékpár geometriák gyakran kevés helyet kínálnak a kulacstartó számára. A DUAL SC kulacstartó az oldalsó hozzáférésnek köszönhetően kisebb keretekhez is alkalmas. Az ivópalack bal oldalról könnyen behelyezhető és kivehető.


Tökéletes kisebb kerékpárvázakhoz

A matt fekete kulacstartó letisztult megjelenése igazán szemet gyönyörködtető.

A DUAL SC az újrahasznosított szénszálakat ütésálló poliamiddal kombinálja. A POLYCARBON névre keresztelt anyag magas pontszámmal rendelkezik, és jelentős előnyökkel jár: A tartó 40%-os széntartalma különösen könnyűvé teszi, ugyanakkor kiváló stabilitást biztosít.

• Bal oldalról eltávolítható palack
• Kisebb keretekhez alkalmas
• Újrahasznosított szénszálból készült
• Könnyű és robusztus
• Minden általános kerékpáros kulacshoz
• Németországban gyártott
8.490 Ft 7.220 Ft 7220.0 HUF
SKS-Germany Explore váztáska
Hosszabb kerékpártúrákhoz ideális, hisz bőven rendelkezik tárolóhellyel. Az EXPLORE FRAME BAG nemcsak sok helyet kínál, de a hegesztett kialakításnak és strapabíró anyagának köszönhetően a tartalmat szárazon és tisztán is tartja. A praktikus cipzárak szintén hegesztettek, így védik a felszerelést a nedvességtől és a szennyeződéstől.

A táska rugalmasan alkalmazkodik a kerékpárvázhoz a festéket kímélő tépőzáraknak köszönhetően. A csúszásgátló tépőzárak hosszabbak, de könnyen rövidíthetőek és cserélhetőek. Az alsó oldalon található hurok ideális minipumpa, esőkabát vagy müzliszelet rögzítésére. A fényvisszaverő csíkok pedig nagyobb láthatóságot biztosítanak sötétben.

Anyaga: poliészter
Méretei: 310 x 60 x 150 mm








16.990 Ft 14.440 Ft 14440.0 HUF
SKS-Germany Explorer Edge váztáska
Erős és tartós! Gumírozott, vízlepergető anyaga teszi az Explorer táskát kötelező kellékké minden mountainbike-os számára. Fényvisszaverővel ellátott részei, mint az SKS logó, hozzájárulnak a biztonsághoz. Rengeteg helyet biztosít a szerszámok, csere belsők és a személyes tárgyak számára, ezenkívül laminált, ergonómikus easy-zip-pel ellátott cipzárral és narancs színű béléssel rendelkezik, hogy megkönnyítse a keresést.

280 x 60 x 120 mm
164 g
10.990 Ft 9.340 Ft 9340.0 HUF
SKS-Germany Explorer Exp. váztáska [fekete]
Fedezd fel a kerékpározást

Jól felszerelten kalandra készen – bike packing táskák az SKS GERMANY-tól
Szabadulj ki a természetbe, élvezd a szabadságot és légy független. A Bike packing egy új trend, a kerékpározás örömének, az utazásnak, a sport kihívásoknak és az outdoor túlélésnek egy ötvözete. Akár egynapos túrára mész, akár országúti kerékpárod van, vagy gravel, vagy MTB: az SKS GERMANY bike packing táskái ideális társaid lesznek. Csomagtartó nélkül is felszerelhetőek és kényelmesebb megoldást jelentenek, mint egy hátizsák.

Az Explorer Exp. váztáska 4 literes tárolókapacitást kínál, és nincs hatással a kormányozhatóságra. Elfér benne a dzseki, a javítókészlet és még az elemózsia is – vízálló anyaga és cipzárja megvédi mindezeket a víztől és a szennyeződésektől. Külön zsebbel rendelkezik a minipumpa – mint például az SKS Airflex Explorer számára.
A gumírozott rögzítővel biztonságosan rögzül a vázra. A táskát úgy tervezték, hogy – a geometirától függően – egy kulacstartó és kulacs számára legyen még hely a váz háromszögén belül.
A matt/fényes SKS dizájnnal rendelkező anyaga lepergeti a vizet, fényvisszaverő részletei pedig hozzájárulnak a biztonságunkhoz.

Tények:
- Külön zseb a szerszám és a minipumpa számára
- Fényezés kímélő rögzítés
- Állítható rögzítőpántok
- Vízálló anyag hegesztett varratokkal
- Elegendő helyet hagy egy kulacstartónak is
24.990 Ft 21.240 Ft 21240.0 HUF
SKS-Germany Injex minipumpa
Ergonomikus kerékpárpumpa

Praktikus, sokoldalú társ! Az SKS INJEX mindenki kedvence. A pumpafej 5 fokos dőlésszöge jelentősen megkönnyíti a gumiabroncsok felfújását. A kétkomponensű, textúrázott felületű fogantyú és a tömlő ergonomikus burkolata kényelmes fogást biztosít.

A pumpafej 5 fokos dőlésszöge jelentősen megkönnyíti a gumiabroncsok felfújását. A kétkomponensű, textúrázott felületű fogantyú és a tömlő ergonomikus burkolata kényelmes fogást biztosít. Az MV EASY fej minden szeleptípushoz kompatibilis, a kialakításba integrált rögzítőkar pedig megbízható szelepcsatlakozást biztosít. A pumpa tartónak köszönhetően a pumpa helytakarékosan felszerelhető a vázra.

Döntött pumpafej
Kétkomponensű, textúrázott felület
MV EASY fej minden szeleptípushoz
Németországban készült
8.490 Ft 7.220 Ft 7220.0 HUF
SKS-Germany Injex Pro minipumpa
Főszereplő: az ergonómia! Az SKS INJEX PRO textúrázott, kétkomponensű, ergonómikus, műanyag borítással ellátott markolattal rendelkezik. A T-fogantyú 60°-kal el van hajlítva, így az alkar és a pumpa egyenes vonalat alkot a pumpálás során. Ez biztosítja az ergonomikus és kényelmes kezelést még hosszabb idejű pumpálás esetén is. Az 5°-kal döntött pumpafej jelentősen megkönnyíti a gumiabroncsok felfújását.

A kapcsolható teleszkópos funkció nagyobb levegőmennyiséget biztosít pumpálásonként, ugyanakkor növeli a maximális elérhető nyomást.
Az MV EASY fej minden szeleptípushoz kompatibilis, hatékony pumpálást biztosítva.
A kialakításba integrált rögzítőkar megbízható szelepcsatlakozást garantál.
A vázra szerelhető pumpatartónak köszönhetően a biciklipumpa helytakarékosan rögzíthető.
A műanyaggal bevont alumínium nyomócső stabilitást és tartósságot biztosít.

Főbb jellemzők:

Kapcsolható teleszkópos funkció
Textúrázott felületű, kétkomponensű markolat
Hajlított T-fogantyú
MV EASY szelepfej minden szeleptípushoz
Németországban készült
Hossz: 266 mm
12.990 Ft 11.040 Ft 11040.0 HUF
3.790 Ft 3.220 Ft 3220.0 HUF
SKS-Germany Topcage kulacstartó + SKS Anywhere rögzítő [fekete]
SKS-Germany Topcage kulacstartó tépőzáras rögzítővel.
Ideális választás, ha egy plusz kulacsot helyeznénk el, de a vázon nincs rögzítőfurat.

Üvegszállal erősített polyamid, Extra könnyű, törhetetlen. A megfelelő kulacsmérethez egyénileg beállítható.

Tömeg: 53 gramm


8.990 Ft 7.640 Ft 7640.0 HUF
SKS-Germany Urban Frame Bag váztáska
Városi és gravel kerékpárokhoz.

Minden kézben van! Legyen szó müzliszeletekről, pótbelsőről vagy pumpáról - az URBAN FRAME BAG könnyedén hordozza, amire szükséged van egy kerékpáros túrához. A vízlepergető anyag lehetővé teszi az eső könnyű lefolyását, míg az alsó rész extra megerősítése stabilitást biztosít.
Biztonságos rögzítés erős tépőzárak segítségével. Ezenkívül az Easyzip cipzár lehetővé teszi a tartalom gyors elérését. Három erős és masszív vázvédős tépőzár biztosítja a biztonságos rögzítést a váz háromszögében. A csúszásgátló és festékkímélő tépőzárak rövidíthetők és cserélhetők.

Tartós külső anyag
Vízlepergetős
Rövidíthető, vázvédős tépőzárak
Easyzip

Méretek: 240 x 50 x 200 mm
12.990 Ft 11.040 Ft 11040.0 HUF
SKS-Germany Urban Stem Bag kormánytáska
Igazán sokoldalú! Az URBAN STEM BAG nem csak egy kormánytáska. Könnyen felszerelhető a váz alsó csövére vagy a kerékpár nyeregére is a tépőzárak vagy csavarok segítségével. A kompakt kialakításnak köszönhetően akár egy literes kulacs vagy láncos zár is szállítható a táskában. Két oldalsó, szakadásálló hálós zseb biztosít helyet a kulcsoknak vagy a pénznek.

A rugalmas zsinór lehetővé teszi a gyors hozzáférést a táska tartalmához.

Vízlepergető, tartós anyagból készült és számos funkcióval rendelkezik, amelyek közé tartozik a karabineres horgok rögzítésére szolgáló hurkok, fényvisszaverő elemek, a megerősített alsó rész és a kényelmes szállítás érdekében vállpánt.

Tartós külső anyag
Vízlepergető
Rövidíthető tépőzárak
Gyors hozzáférés
Multifunkcionális
Fényvisszaverő elemek
16.990 Ft 14.440 Ft 14440.0 HUF
SKS-Germany VX vázpumpa [34-39.5 cm]
SKS VX vázba rögzíthető pumpa


Szeleptípus: AV (auto) / DV (dunlop) / FV (presta)
Max. nyomás: 8 bar (115 psi)
Anyag: műanyag
Hossz:
34,5-39,5 cm: 42-47 cm vázmérethez
40-45 cm: 48-53 cm vázmérethez
45,5-50,5 cm: 54-58 cm vázmérethez
51-56 cm: 59-64 cm vázmérethez
56,5-61,5 cm: 65-69 cm vázmérethez

Tömeg: 98 g.

Figyelem, a megadott méretek tájékoztazó jellegűek, a cső vastagságától, profiljától változhat milyen méretű pumpa lesz jó.
2.990 Ft 2.540 Ft 2540.0 HUF
SKS-Germany VX vázpumpa [40-45 cm]
SKS VX vázba rögzíthető pumpa


Szeleptípus: AV (auto) / DV (dunlop) / FV (presta)
Max. nyomás: 8 bar (115 psi)
Anyag: műanyag
Hossz:
34,5-39,5 cm: 42-47 cm vázmérethez
40-45 cm: 48-53 cm vázmérethez
45,5-50,5 cm: 54-58 cm vázmérethez
51-56 cm: 59-64 cm vázmérethez
56,5-61,5 cm: 65-69 cm vázmérethez

Tömeg: 98 g.

Figyelem, a megadott méretek tájékoztazó jellegűek, a cső vastagságától, profiljától változhat milyen méretű pumpa lesz jó.
2.990 Ft 2.540 Ft 2540.0 HUF
SKS-Germany VX vázpumpa [45.5-50.5 cm]
SKS VX vázba rögzíthető pumpa


Szeleptípus: AV (auto) / DV (dunlop) / FV (presta)
Max. nyomás: 8 bar (115 psi)
Anyag: műanyag
Hossz:
34,5-39,5 cm: 42-47 cm vázmérethez
40-45 cm: 48-53 cm vázmérethez
45,5-50,5 cm: 54-58 cm vázmérethez
51-56 cm: 59-64 cm vázmérethez
56,5-61,5 cm: 65-69 cm vázmérethez

Tömeg: 98 g.

Figyelem, a megadott méretek tájékoztazó jellegűek, a cső vastagságától, profiljától változhat milyen méretű pumpa lesz jó.
2.990 Ft 2.540 Ft 2540.0 HUF
SKS-Germany VX vázpumpa [51-56 cm]
SKS VX vázba rögzíthető pumpa


Szeleptípus: AV (auto) / DV (dunlop) / FV (presta)
Max. nyomás: 8 bar (115 psi)
Anyag: műanyag
Hossz:
34,5-39,5 cm: 42-47 cm vázmérethez
40-45 cm: 48-53 cm vázmérethez
45,5-50,5 cm: 54-58 cm vázmérethez
51-56 cm: 59-64 cm vázmérethez
56,5-61,5 cm: 65-69 cm vázmérethez

Tömeg: 98 g.

Figyelem, a megadott méretek tájékoztazó jellegűek, a cső vastagságától, profiljától változhat milyen méretű pumpa lesz jó.
2.990 Ft 2.540 Ft 2540.0 HUF
SKS-Germany VX vázpumpa [56.5-61.5 cm]
SKS VX vázba rögzíthető pumpa


Szeleptípus: AV (auto) / DV (dunlop) / FV (presta)
Max. nyomás: 8 bar (115 psi)
Anyag: műanyag
Hossz:
34,5-39,5 cm: 42-47 cm vázmérethez
40-45 cm: 48-53 cm vázmérethez
45,5-50,5 cm: 54-58 cm vázmérethez
51-56 cm: 59-64 cm vázmérethez
56,5-61,5 cm: 65-69 cm vázmérethez

Tömeg: 98 g.

Figyelem, a megadott méretek tájékoztazó jellegűek, a cső vastagságától, profiljától változhat milyen méretű pumpa lesz jó.
2.990 Ft 2.540 Ft 2540.0 HUF
SKS-Germany Twist 590 (Fidlock) kulacs [átlátszó-füst, 590 ml]
A Fidlock világhírű innovatív mágneses rögzítési rendszere stabil és gyors kulacs rögzítést és kioldást biztosít.
Automatikusan a helyére pattan, amint a vázon lévő Fidlock Twist kerékpártalp fölé tartjuk és oldalra forgatva oldhatjuk ki, mindezt villámgyorsan anélkül, hogy keresgélni kellene a kulacstartó nyílását. Így nem csak gyors hanem biztonságos is, kevesebb ideig kell egy kézzel tartani a kormányt, ami rázós terepen nagyon hasznos lehet.

A Twist 590 Fidlock nemcsak stílusos, de rendkívül praktikus is. Ergonomikus kialakításának köszönhetően könnyedén elfér a legtöbb kerékpár vázon.

Nagy méretű nyílással rendelkezik, illetve önzáró szeleppel, amely megakadályozza a szivárgást, a levehető védőkupak pedig tisztán tartja a szívókát, még a legrosszabb körülmények között is.

BPA-mentes
18.990 Ft 16.140 Ft 16140.0 HUF
Superior F.L.Y. 20 20"-os gyermek kerékpár [9", matt zöld/króm ezüst]
Váz:Alloy 6061 T6 Double Butted, Advanced Junior Geometry, 1xOptimized, BB BSA, Inner cable routing, Disc Brake Flat mountVilla:alumínium merev villaVilla lockout: nincsKormány:ONE1 Alloy, TM40, 3° upsweep, 8° backsweep, 18mm rise, 560mmKormányfej:ONE1 alloyKormánycsapágy:CHS0926 FIT8 1-1/8", IS41/28.6, IS41/30Felni:Stars J18SF, 20HKerékméret: 20" (ETRTO: 406 mm)Első agy:ONE1 KTTC7F, 20H, M9x100mm, QR TypeTengelytípus elöl: normál tengelyHátsó agy:ONE1 KTTCCR, 20H, M10x135, CASSETE, QR TypeTengelytípus hátul: normál tengelyFogaskoszorú:Shimano HG200Hajtómű:Wheel Top SXB4BL-WM, 28TPedál:Marwi SP-202Első váltó:-Hátsó váltó:Shimano TourneyVáltókar:Shimano RevoShiftFék:AlhongaFéktípus: hidraulikus tárcsafékNyereg:Selle Royal JuniorNyeregcső:ONE1 Alloy, SP C207, 27.2mmVáltórendszer:láncváltóVázanyag:alumínium ötvözetRugóstag:nem tartozékNői vázgeometria:nemFokozatok száma:1x7Rugózás:nincs

297.990 Ft 253.290 Ft 253290.0 HUF
Superior F.L.Y. 20 DB 20"-os gyermek kerékpár [9", matt acélkék]
Váz:Alloy 6061 T6 Double Butted, Advanced Junior Geometry, 1xOptimized, BB BSA, Inner cable routing, Disc Brake Flat mountVilla:alumínium merev villaVilla lockout: nincsKormány:ONE1 Alloy, TM40, 3° upsweep, 8° backsweep, 18mm rise, 560mmKormányfej:ONE1 MAS-MD60368 Alloy, 25.4mm, 15°Kormánycsapágy:CHS0926 FIT8 1-1/8", (IS41/28.6)/(IS41/30)Gumiköpeny:Schwalbe Black Jack 20x1.90"Felni:Stars J18SF, 20HKerékméret: 20" (ETRTO: 406 mm)Első agy:ONE1 KTTC7F, 20H, M9x100mm, QR TypeHátsó agy:ONE1 KTTCCR, 20H, M10x135, CASSETE, QR TypeFogaskoszorú:Shimano HG200Hajtómű:Wheel Top SXB4BL-WM, 28TPedál:Marwi SP-202Első váltó:-Hátsó váltó:Shimano TourneyVáltókar:Shimano RevoShiftFék:AlhongaFéktípus: hidraulikus tárcsafékNyereg:Selle Royal JuniorNyeregcső:ONE1 Alloy, SP C207, 27.2mmVáltórendszer:láncváltóVázanyag:alumínium ötvözetRugóstag:nem tartozékNői vázgeometria:nemFokozatok száma:1x7Rugózás:nincs

278.990 Ft 237.140 Ft 237140.0 HUF
Superior F.L.Y. 20 VB 20"-os gyermek kerékpár [9", matt oliva/króm]
Váz:Alloy 6061 T6 Double Butted, Advanced Junior Geometry, 1xOptimized, BB BSA, Inner cable routing, Disc Brake Flat mountVilla:alumínium merev villaVilla lockout: nincsKormány:ONE1 Alloy, TM40, 3° upsweep, 8° backsweep, 18mm rise, 560mmKormányfej:ONE1 alloyKormánycsapágy:CHS0926 FIT8 1-1/8", IS41/28.6, IS41/30Gumiköpeny:Schwalbe CX Comp KevlarGuard, 20x1.75", Reflective tapeFelni:Stars J19SZ, 20HKerékméret: 20" (ETRTO: 406 mm)Első agy:ONE1 KTA55F, 20H, M9x100mm, QR TypeTengelytípus elöl: normál tengelyHátsó agy:ONE1 KTAZ2R, 20H, M10x130, CASSETE, QR TypeTengelytípus hátul: normál tengelyFogaskoszorú:Shimano HG200Hajtómű:Wheel Top SXB4BL-WM, 28TPedál:Marwi SP-202Első váltó:-Hátsó váltó:Shimano TourneyVáltókar:Shimano RevoShiftFék:AlhongaFéktípus: V-fékNyereg:Selle Royal JuniorNyeregcső:ONE1 Alloy, SP C207, 27.2mmVáltórendszer:láncváltóVázanyag:alumínium ötvözetRugóstag:nem tartozékNői vázgeometria:nemFokozatok száma:1x7Rugózás:nincs

238.990 Ft 203.140 Ft 203140.0 HUF
Superior F.L.Y. 20 VB 20"-os gyermek kerékpár [9", matt zöld/króm ezüst]
Váz:Alloy 6061 T6 Double Butted, Advanced Junior Geometry, 1xOptimized, BB BSA, Inner cable routing, Disc Brake Flat mountVilla:alumínium merev villaVilla lockout: nincsKormány:ONE1 Alloy, TM40, 3° upsweep, 8° backsweep, 18mm rise, 560mmKormányfej:ONE1 alloyKormánycsapágy:CHS0926 FIT8 1-1/8", IS41/28.6, IS41/30Gumiköpeny:Schwalbe CX Comp KevlarGuard, 20x1.75", Reflective tapeFelni:Stars J19SZ, 20HKerékméret: 20" (ETRTO: 406 mm)Első agy:ONE1 KTA55F, 20H, M9x100mm, QR TypeTengelytípus elöl: normál tengelyHátsó agy:ONE1 KTAZ2R, 20H, M10x130, CASSETE, QR TypeTengelytípus hátul: normál tengelyFogaskoszorú:Shimano HG200Hajtómű:Wheel Top SXB4BL-WM, 28TPedál:Marwi SP-202Első váltó:-Hátsó váltó:Shimano TourneyVáltókar:Shimano RevoShiftFék:AlhongaFéktípus: V-fékNyereg:Selle Royal JuniorNyeregcső:ONE1 Alloy, SP C207, 27.2mmVáltórendszer:láncváltóVázanyag:alumínium ötvözetRugóstag:nem tartozékNői vázgeometria:nemFokozatok száma:1x7Rugózás:nincs

238.990 Ft 203.140 Ft 203140.0 HUF
Superior F.L.Y. 24 24"-os kerékpár [11", matt oliva/króm]
Váz:Alloy 6061 T6 Double Butted, Advanced Junior Geometry, 1xOptimized, BB BSA, Inner cable routing, Disc Brake Flat mountVilla:alumínium merev villaVilla lockout: nincsKormány:ONE1 Alloy, TM40, 3° upsweep, 8° backsweep, 18mm rise, 580mmKormányfej:ONE1 alloyKormánycsapágy:CHS0926 FIT8 1-1/8", IS41/28.6, IS41/30Gumiköpeny:Schwalbe Billy Bonkers Performance, 24x2.00"Felni:Stars J18SF, 20HKerékméret: 24" (ETRTO: 507 mm)Első agy:ONE1 KTTC7F, 20H, M9x100mm, QR TypeTengelytípus elöl: normál tengelyHátsó agy:ONE1 KTTC7R, 20H, M10x135, CASSETE, QR TypeTengelytípus hátul: normál tengelyFogaskoszorú:Shimano HG31Hajtómű:Wheel Top SXB4BL-WM, 28TPedál:Marwi SP-400Első váltó:-Hátsó váltó:Shimano AceraVáltókar:Shimano AltusFék:AlhongaFéktípus: hidraulikus tárcsafékNyereg:Selle Royal JuniorNyeregcső:ONE1 Alloy, SP C207, 27.2mmVáltórendszer:láncváltóVázanyag:alumínium ötvözetRugóstag:nem tartozékNői vázgeometria:nemFokozatok száma:1x8Rugózás:nincs

327.990 Ft 278.790 Ft 278790.0 HUF
Superior F.L.Y. 24 24"-os kerékpár [11", matt zöld/króm ezüst]
Váz:Alloy 6061 T6 Double Butted, Advanced Junior Geometry, 1xOptimized, BB BSA, Inner cable routing, Disc Brake Flat mountVilla:alumínium merev villaVilla lockout: nincsKormány:ONE1 Alloy, TM40, 3° upsweep, 8° backsweep, 18mm rise, 580mmKormányfej:ONE1 alloyKormánycsapágy:CHS0926 FIT8 1-1/8", IS41/28.6, IS41/30Gumiköpeny:Schwalbe Billy Bonkers Performance, 24x2.00"Felni:Stars J18SF, 20HKerékméret: 24" (ETRTO: 507 mm)Első agy:ONE1 KTTC7F, 20H, M9x100mm, QR TypeTengelytípus elöl: normál tengelyHátsó agy:ONE1 KTTC7R, 20H, M10x135, CASSETE, QR TypeTengelytípus hátul: normál tengelyFogaskoszorú:Shimano HG31Hajtómű:Wheel Top SXB4BL-WM, 28TPedál:Marwi SP-400Első váltó:-Hátsó váltó:Shimano AceraVáltókar:Shimano AltusFék:AlhongaFéktípus: hidraulikus tárcsafékNyereg:Selle Royal JuniorNyeregcső:ONE1 Alloy, SP C207, 27.2mmVáltórendszer:láncváltóVázanyag:alumínium ötvözetRugóstag:nem tartozékNői vázgeometria:nemFokozatok száma:1x8Rugózás:nincs

327.990 Ft 278.790 Ft 278790.0 HUF
Superior F.L.Y. 24 24"-os kerékpár [11", fényes lila/türkiz]
Váz:Alu 6061 T6 Double Butted, Advanced Junior GeometryVilla:alumínium merev villaVilla lockout: nincsKormány:ONE1 Alloy, MTB AL-718BT, 30mm rise, 540mm, 25.4mmKormányfej:ONE1 MAS-MD60368 Alloy, 25.4mm, 15°Kormánycsapágy:CH290TBW, 1-1/8"Gumiköpeny:Schwalbe CX Comp, 24x1.75", Reflective tapeFelni:Stars J19SZ, 24HKerékméret: 24" (ETRTO: 507 mm)Első agy:ONE1 KTA55F, 24H, M9x100mm, QR TypeHátsó agy:ONE1 KTAZER, 24H, M10x130, CASSETE, QR TypeFogaskoszorú:Shimano HG31Hajtómű:Wheel Top SXB4BL-WM, 28TPedál:Marwi SP-400Első váltó:-Hátsó váltó:Shimano AceraVáltókar:Shimano AltusFék:alumínium V-fékFéktípus: V-fékNyereg:Selle Royal JuniorNyeregcső:ONE1 Alloy, SP C207, 27.2mmTömeg:9.5 kgVáltórendszer:láncváltóVázanyag:alumínium ötvözetRugóstag:nem tartozékNői vázgeometria:nemFokozatok száma:1x8Rugózás:nincs

228.990 Ft 194.640 Ft 194640.0 HUF
Superior F.L.Y. 24 DB 24"-os kerékpár [11", matt oliva-króm]
Váz:Alloy 6061 T6 Double Butted, Advanced Junior Geometry, 1xOptimized, BB BSA, Inner cable routing, Disc Brake Flat mountVilla:alumínium merev villaVilla lockout: nincsKormány:ONE1 Alloy, TM40, 3° upsweep, 8° backsweep, 18mm rise, 580mmKormányfej:ONE1 MAS-MD60368 Alloy, 25.4mm, 15°Kormánycsapágy:CHS0926 FIT8 1-1/8", (IS41/28.6)/(IS41/30)Gumiköpeny:Schwalbe Billy Bonkers Performance, 24x2.00"Felni:Stars J18SF, 20HKerékméret: 24" (ETRTO: 507 mm)Első agy:ONE1 KTTC7F, 20H, M9x100mm, QR TypeHátsó agy:ONE1 KTTC7R, 20H, M10x135, CASSETE, QR TypeFogaskoszorú:Shimano HG31Hajtómű:Wheel Top SXB4BL-WM, 28TPedál:Marwi SP-400Első váltó:-Hátsó váltó:Shimano AceraVáltókar:Shimano AltusFék:AlhongaFéktípus: hidraulikus tárcsafékNyereg:Selle Royal JuniorNyeregcső:ONE1 Alloy, SP C207, 27.2mmVáltórendszer:láncváltóVázanyag:alumínium ötvözetRugóstag:nem tartozékNői vázgeometria:nemFokozatok száma:1x8Rugózás:nincs

287.990 Ft 244.790 Ft 244790.0 HUF
Superior F.L.Y. 24 DB 24"-os kerékpár [11", matt acélkék]
Váz:Alloy 6061 T6 Double Butted, Advanced Junior Geometry, 1xOptimized, BB BSA, Inner cable routing, Disc Brake Flat mountVilla:alumínium merev villaVilla lockout: nincsKormány:ONE1 Alloy, TM40, 3° upsweep, 8° backsweep, 18mm rise, 580mmKormányfej:ONE1 MAS-MD60368 Alloy, 25.4mm, 15°Kormánycsapágy:CHS0926 FIT8 1-1/8", (IS41/28.6)/(IS41/30)Gumiköpeny:Schwalbe Billy Bonkers Performance, 24x2.00"Felni:Stars J18SF, 20HKerékméret: 24" (ETRTO: 507 mm)Első agy:ONE1 KTTC7F, 20H, M9x100mm, QR TypeHátsó agy:ONE1 KTTC7R, 20H, M10x135, CASSETE, QR TypeFogaskoszorú:Shimano HG31Hajtómű:Wheel Top SXB4BL-WM, 28TPedál:Marwi SP-400Első váltó:-Hátsó váltó:Shimano AceraVáltókar:Shimano AltusFék:AlhongaFéktípus: hidraulikus tárcsafékNyereg:Selle Royal JuniorNyeregcső:ONE1 Alloy, SP C207, 27.2mmVáltórendszer:láncváltóVázanyag:alumínium ötvözetRugóstag:nem tartozékNői vázgeometria:nemFokozatok száma:1x8Rugózás:nincs

287.990 Ft 244.790 Ft 244790.0 HUF
Superior F.L.Y. 24 VB 24"-os kerékpár [11", matt oliva/króm]
Váz:Alloy 6061 T6 Double Butted, Advanced Junior Geometry, 1xOptimized, BB BSA, Inner cable routing, Disc Brake Flat mountVilla:alumínium merev villaVilla lockout: nincsKormány:ONE1 Alloy, TM40, 3° upsweep, 8° backsweep, 18mm rise, 580mmKormányfej:ONE1 alloyKormánycsapágy:CHS0926 FIT8 1-1/8", IS41/28.6, IS41/30Gumiköpeny:Schwalbe CX Comp, 24x1.75", Reflective tapeFelni:Stars J19SZ, 24HKerékméret: 24" (ETRTO: 507 mm)Első agy:Alloy 6061 T6 Double ButtedTengelytípus elöl: normál tengelyHátsó agy:ONE1 KTAZER, 24H, M10x130, CASSETE, QR TypeTengelytípus hátul: normál tengelyFogaskoszorú:Shimano HG31Hajtómű:Wheel Top SXB4BL-WM, 28TPedál:Marwi SP-400Első váltó:-Hátsó váltó:Shimano AceraVáltókar:Shimano AltusFék:AlhongaFéktípus: V-fékNyereg:Selle Royal JuniorNyeregcső:ONE1 Alloy, SP C207, 27.2mmVáltórendszer:láncváltóVázanyag:alumínium ötvözetRugóstag:nem tartozékNői vázgeometria:nemFokozatok száma:1x8Rugózás:nincs

258.990 Ft 220.140 Ft 220140.0 HUF
Superior Racer XC 20 20"-os gyermek kerékpár [9", fényes fehér/kék/sárga]
Váz:Alu 6061 T6 Double Butted, Advanced Junior Geometry,1xOptimized, BB BSA, SR dropoutVilla:alumínium merev villaVilla lockout: nincsKormány:ONE1 Hi-ten, MTB-110PP, 10° backsweep, 500mm, 25.4mmKormányfej:ONE1 MAS-MD60368 Alloy, 25.4mm, 15°Kormánycsapágy:CH290TBW, 1-1/8"Gumiköpeny:Schwalbe Black Jack KevlarGuard, 20x1.90"Felni:Stars J19SZ, 24HKerékméret: 20" (ETRTO: 406 mm)Első agy:ONE1 KTA55F, 24H, M9x100mm, QR TypeTengelytípus elöl: normál tengelyHátsó agy:ONE1 KTA52R, 24H, M10x135, FREEWHEEL, QR TypeTengelytípus hátul: normál tengelyFogaskoszorú:Shimano Tourney MF-TZHajtómű:Wheel Top SXB4BL-WM, 28TPedál:Marwi SP-202Első váltó:-Hátsó váltó:Shimano TourneyVáltókar:Shimano RevoShiftFék:AlhongaFéktípus: V-fékNyereg:Selle Royal JuniorNyeregcső:ONE1 Alloy, SP C208, 27.2mmVáltórendszer:láncváltóVázanyag:alumínium ötvözetRugóstag:nem tartozékNői vázgeometria:nemFokozatok száma:1x7Rugózás:nincs

188.990 Ft 160.640 Ft 160640.0 HUF
Superior Racer XC 24 24"-os kerékpár [11", matt lime/piros]
Váz:Alu 6061 T6 Double Butted, Advanced Junior Geometry,1xOptimized, BB BSA, SR dropoutVilla:SR Suntour XCTVilla lockout: nincsKormány:ONE1 Alloy, MTB-110PP, 10° backsweep, 540mm, 25.4mmKormányfej:ONE1 MAS-MD60368 Alloy, 25.4mm, 15°Kormánycsapágy:CH290TBW, 1-1/8"Gumiköpeny:Schwalbe Billy Bonkers KevlarGuard, 24x2.00"Felni:Stars J19SZ, 24HKerékméret: 24" (ETRTO: 507 mm)Első agy:ONE1 KTA55F, 24H, M9x100mm, QR TypeTengelytípus elöl: normál tengelyHátsó agy:ONE1 KTAZER, 24H, M10x135, CASSETE, QR TypeTengelytípus hátul: normál tengelyFogaskoszorú:Shimano HG31Hajtómű:Wheel Top SXB4BL-WM, 28TPedál:Marwi SP-400Első váltó:-Hátsó váltó:Shimano TourneyVáltókar:Shimano RevoShiftFék:AlhongaFéktípus: V-fékNyereg:Selle Royal JuniorNyeregcső:ONE1 Alloy, SP C208, 27.2mmVáltórendszer:láncváltóVázanyag:alumínium ötvözetRugóstag:nem tartozékNői vázgeometria:nemFokozatok száma:1x8Rugózás:elölRugóút elöl: 50 mm

218.990 Ft 186.140 Ft 186140.0 HUF